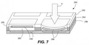
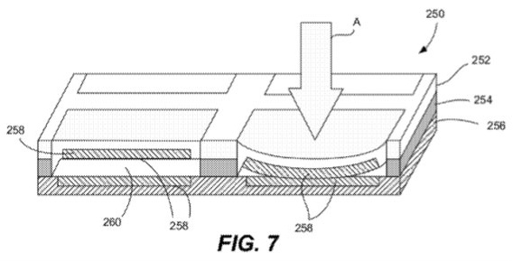
Apple quiere adelgazar todavía más sus teclados, y para ello ha tenido que idear nuevos mecanismos de pulsación de tecla. Recientemente hemos podido ver uno de ellos gracias a una patente que ha descubierto AppleInsider, que elimina el mecanismo al que estamos acostumbrados para poder crear teclas más delgadas pero manteniendo la comodidad.

De hecho, la patente indica que se podría reducir la distancia que recorre una tecla al ser pulsada a tan sólo 0,2 milímetros sin afectar a la sensación que el usuario percibe al pulsar esa tecla. Además, con este nuevo sistema se podrían usar materiales no aptos para los teclados actuales como el cristal pulido.

La ventaja principal es, por supuesto, poder hacer ordenadores portátiles más delgados. Pero seguro que si esta patente acaba siendo una realidad también lo veremos reflejado en los teclados inalámbricos que Apple incluye con algunos de sus ordenadores o vende por separado. ¿Un MacBook Air todavía más delgado que el actual? Pues con esto parece posible.

 

Fuente: Applesfera.com





Etiquetas:

Comments are closed.